| Sign In | Join Free | My futurenowinc.com |
|
| Categories | load cells |
|---|---|
| Brand Name: | SATIS |
| Model Number: | SAL304A |
| Certification: | N/A |
| Place of Origin: | CHINA |
| MOQ: | 50 units |
| Price: | USD 90 - 120 per unit |
| Payment Terms: | T/T |
| Supply Ability: | 3000 units per month |
| Delivery Time: | 30 working days |
| Packaging Details: | netural carton |
| Company Info. |
| SATIS CO., LIMITED |
| View Contact Details |
| Product List |
Features
Specification
| Maximum capacity (Emax) | t | 1, 2.2, 3.3, 4.7 |
| Rated output (Cn) | mV/V | 2.85 ± 0.015 |
| Accuracy | ±%FS | 0.05 |
| Max. number of intervals (nLC) | - | 3000 |
| Creep (30 minutes) | ±%FS | 0.02 |
| Zero balance | ±%FS | 1 |
| Temperature effect on zero balance (TCO) | ±%FS/10°C | 0.02 |
| Temperature effect on sensitivity (TC Span) | ±%FS/10°C | 0.02 |
| Safe overload | %FS | 150 |
| Ultimate overload | %FS | 200 |
| Nominal temperature range | °C | -10 ... + 40 |
| Operating temperature range | °C | - 30 ... + 70 |
| Input impedance | Ω | 1450 ± 10 |
| Output impedance | Ω | 1402 ± 5 |
| Insulation impedance | MΩ | ≥ 5000 |
| Recommended excitation | V DC/AC | 10 -12 |
| Excitation maximum | V DC/AC | 15 |
| Material | - | Alloy steel |
| Protection class | - | IP68 |
| Cable | - | Length: 8m or customize special length to order; Diameter: Φ 6mm |
Wiring
The load cell is provided with a shielded 4 or 6 conductor cable. The shield will be connected or not connected to the load cell according to customer’s preference.

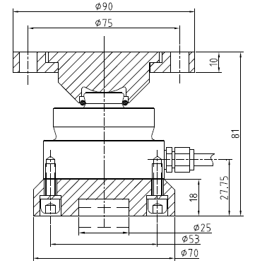
Dimension

Accessories

Accessory model: type b mounting
Notes:
The mounting is optional in your order, if you need it, please list out in your inquiry and order
|